產品介紹
JDX磨機減速機
JDX系列減速器采用了現代齒輪設計制造技術,吸取了國內外同類產品的優點,總結了國內設計制造同類產品的經驗,根據水泥等行業使用工況惡劣、低速重載、安全可靠、使用壽命長等特點,專門精心設計用于水泥磨、煤磨等用途的邊緣傳動機減速器。 JDX系列減速器采用單級減速、帶專用油站、齒輪全部為硬齒面,精度達6級(GB/T10095—2001)以上,高可靠度設計,設計壽命為持久壽命,與國內外同類產品相比,具有體積小、重量輕、外形簡潔大方、操作簡單、維修方便、安全可靠、使用壽命長等特點。
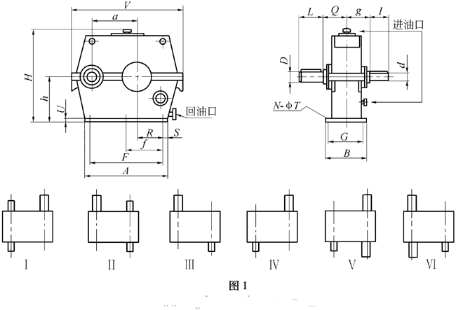
減速器外形尺寸及裝配形式

| JDX磨機減速機 |
|
JDX系列減速器采用了現代齒輪設計制造技術,吸取了國內外同類產品的優點,總結了國內設計制造同類產品的經驗,根據水泥等行業使用工況惡劣、低速重載、安全可靠、使用壽命長等特點,專門精心設計用于水泥磨、煤磨等用途的邊緣傳動機減速器。 JDX系列減速器采用單級減速、帶專用油站、齒輪全部為硬齒面,精度達6級(GB/T10095—2001)以上,高可靠度設計,設計壽命為持久壽命,與國內外同類產品相比,具有體積小、重量輕、外形簡潔大方、操作簡單、維修方便、安全可靠、使用壽命長等特點。 減速器外形尺寸及裝配形式
|

a>